EnglishHigh voltage vacuum circuit breakers (HV VCB) are critical components in modern power systems, providing safe, efficient fault interruption without harmful gases. In this beginner-friendly guide, Fenarro Power Technology explains how HV VCBs work, their advantages over traditional breakers, and why they're vital for 2026's sustainable energy landscape. As a leading Chinese manufacturer, Fenarro delivers IEC-certified solutions for global projects.
BJX-110
Fenarro
| Availability: | |
|---|---|
| Quantity: | |
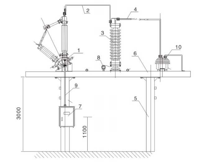
The BZJ-110/220 series equipment is specifically engineered for neutral point overvoltage protection in transformers within 110kV and 220kV substations.
Key highlights:
Designed in accordance with DL/T620-1997 and State Grid’s 2005 Anti-Accident Measures.
Provides protection for ungrounded transformer neutral points.
Available in two configurations:
Spark gap only solution
Spark gap + arrester parallel operation for enhanced coordinated protection
Flexible assembly with disconnector and arrester, allowing manual or electric operating mechanisms.
Factory-assembled and fully tested before delivery, with easy field re-calibration if required.
Compact design with simplified installation, adjustment, and operation.
Suitable for 110kV and 220kV effectively grounded networks
Ambient temperature: -40℃ ~ +40℃
Altitude: ≤ 2000m
Seismic resistance: ≤ 8 degrees
Free from flammable, explosive, or corrosive environments
Capable of withstanding outdoor climatic conditions
Integrated design: combines spark gap, CT, disconnector, arrester, terminal box, and support frame in one compact unit
Flexible protection schemes: supports spark gap only or spark gap + arrester parallel protection
Reliable performance: all electrical and mechanical parameters are factory-tested before delivery
Ease of installation: simplified structure, convenient for substation arrangement and maintenance
Customizable operation: disconnector available with manual or electric operating mechanism
High reliability: designed to prevent grounding and overvoltage accidents, improving substation safety

| Serial No. | Name | Unit | Quantity | Remarks |
|---|---|---|---|---|
| 1 | GW13-72.5kV Disconnector | set | 1 | |
| 2 | Connecting Copper Busbar | piece | 1 | |
| 3 | 72.5kV Lightning Arrester | unit | 1 | |
| 4 | Discharge Gap | set | 1 | |
| 5 | Installation Support | piece | 2 | Cement pole or steel pole |
| 6 | Body Frame | piece | 1 | |
| 7 | Manual or Motor Operating Mechanism | unit | 1 | As per user requirements |
| 8 | Monitoring and Counting Instrument | piece | 1 | As per user requirements |
| 9 | Connecting Galvanized Pipe | piece | 1 | As per user requirements |
| 10 | Current Transformer | piece | 1 | As per user requirements |
The BZJ-110/220 series equipment is specifically engineered for neutral point overvoltage protection in transformers within 110kV and 220kV substations.
Key highlights:
Designed in accordance with DL/T620-1997 and State Grid’s 2005 Anti-Accident Measures.
Provides protection for ungrounded transformer neutral points.
Available in two configurations:
Spark gap only solution
Spark gap + arrester parallel operation for enhanced coordinated protection
Flexible assembly with disconnector and arrester, allowing manual or electric operating mechanisms.
Factory-assembled and fully tested before delivery, with easy field re-calibration if required.
Compact design with simplified installation, adjustment, and operation.
Suitable for 110kV and 220kV effectively grounded networks
Ambient temperature: -40℃ ~ +40℃
Altitude: ≤ 2000m
Seismic resistance: ≤ 8 degrees
Free from flammable, explosive, or corrosive environments
Capable of withstanding outdoor climatic conditions
Integrated design: combines spark gap, CT, disconnector, arrester, terminal box, and support frame in one compact unit
Flexible protection schemes: supports spark gap only or spark gap + arrester parallel protection
Reliable performance: all electrical and mechanical parameters are factory-tested before delivery
Ease of installation: simplified structure, convenient for substation arrangement and maintenance
Customizable operation: disconnector available with manual or electric operating mechanism
High reliability: designed to prevent grounding and overvoltage accidents, improving substation safety

| Serial No. | Name | Unit | Quantity | Remarks |
|---|---|---|---|---|
| 1 | GW13-72.5kV Disconnector | set | 1 | |
| 2 | Connecting Copper Busbar | piece | 1 | |
| 3 | 72.5kV Lightning Arrester | unit | 1 | |
| 4 | Discharge Gap | set | 1 | |
| 5 | Installation Support | piece | 2 | Cement pole or steel pole |
| 6 | Body Frame | piece | 1 | |
| 7 | Manual or Motor Operating Mechanism | unit | 1 | As per user requirements |
| 8 | Monitoring and Counting Instrument | piece | 1 | As per user requirements |
| 9 | Connecting Galvanized Pipe | piece | 1 | As per user requirements |
| 10 | Current Transformer | piece | 1 | As per user requirements |